- 壓力變送器系列
- 通用型壓力變送器
- 工業型壓力變送器
- 衛生型壓力變送器
- 數顯型壓力變送器
- 高溫型壓力變送器
- 差壓型壓力變送器
- 潛水型壓力變送器
- 經濟型壓力變送器
- 智能型壓力變送器
- 高壓型壓力變送器
- 壓縮機專用壓力變送器
- 差壓變送器系列
- 智能壓力變送器
- 智能絕對壓力變送器
- 智能差壓變送器
- 智能微差壓變送器
- 智能高靜壓差壓變送器
- 智能單法蘭液位變送器
- 智能單法蘭插入式液位變送器
- 智能遠傳差壓變送器
- 智能遠傳插入式差壓變送器
- 智能遠傳壓力變送器
SLK511TS工業卡箍平膜高溫壓力變送器

產品概述
SLK511TS工業卡箍平膜高溫顯示型壓力變送器采用平面膜直接感受壓力信號,以擴散硅壓力芯體作為敏感元件,內置處理電路將傳感器毫伏信號轉換成標準電壓﹑電流﹑頻率信號輸出,可直接與計算機、控制儀表﹑顯示儀表等相連,可進行遠距離信號傳輸。SLK511TS工業卡箍平膜高溫顯示型壓力變送器卡箍端面受力膜片外露直接感受壓力,可防止結垢,不衛生及粘稠壓力堵塞等問題,廣泛應用于食品、醫藥、釀酒等衛生型行業及測量介質可能結垢場合的壓力測試。
產品特點
1、壓力接口采用316L平膜片結構
2、衛生型,防結垢
3、具有短路保護和反極性保護
4、量程范圍寬,可測量絕壓、表壓和密封參考壓力
5、良好地密封性,能長期穩定工作
6、帶換熱片設計,高溫介質應用性能優異
7、多種輸出信號可選擇,可按客戶要求定制
性能參數
適用范圍
腐蝕性氣體,液體,蒸汽的壓力和液位測量,壓縮機,空調系統,工業自動化產品配套等…
電氣連接及接線方式
SLK511TS工業卡箍平膜高溫顯示型壓力變送器采用平面膜直接感受壓力信號,以擴散硅壓力芯體作為敏感元件,內置處理電路將傳感器毫伏信號轉換成標準電壓﹑電流﹑頻率信號輸出,可直接與計算機、控制儀表﹑顯示儀表等相連,可進行遠距離信號傳輸。SLK511TS工業卡箍平膜高溫顯示型壓力變送器卡箍端面受力膜片外露直接感受壓力,可防止結垢,不衛生及粘稠壓力堵塞等問題,廣泛應用于食品、醫藥、釀酒等衛生型行業及測量介質可能結垢場合的壓力測試。
產品特點
1、壓力接口采用316L平膜片結構
2、衛生型,防結垢
3、具有短路保護和反極性保護
4、量程范圍寬,可測量絕壓、表壓和密封參考壓力
5、良好地密封性,能長期穩定工作
6、帶換熱片設計,高溫介質應用性能優異
7、多種輸出信號可選擇,可按客戶要求定制
性能參數
| 量程范圍 | 0~70kPa…10MPa |
| 壓力類型 | 表壓、絕壓、密封壓 |
| 供電電源 | 24V、12V |
| 輸出信號 | 4~20mA、1~5V、0~5V |
| 工作溫度 | -20℃~85℃ |
| 介質溫度 | -40℃~85℃、 -40℃~150℃ |
| 儲存溫度 | -40℃~125℃ |
| 零點溫漂 | ±2%FS(@-20℃~85℃) |
| 靈敏度溫漂 | ±2%FS(@-20℃~85℃) |
| 過載壓力 | 150%FS |
| 機械振動 | 20g(20~5000HZ) |
| 沖擊 | 100g(11ms) |
| 綜合精度 | 0.5級 |
| 絕 緣 | 100MΩ/250VDC |
| 響應時間 | ≤1ms(上升到90%FS) |
| 長期穩定性 | ±0.2%FS/年 |
| 防護等級 | IP65 |
| 材質 | 外殼不銹鋼;卡箍及隔離膜片316L |
| 介質兼容 | 與316L不銹鋼兼容的各種介質 |
腐蝕性氣體,液體,蒸汽的壓力和液位測量,壓縮機,空調系統,工業自動化產品配套等…
電氣連接及接線方式
| J1:2088殼體 | J5:赫斯曼 | ||
|
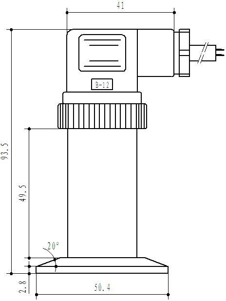
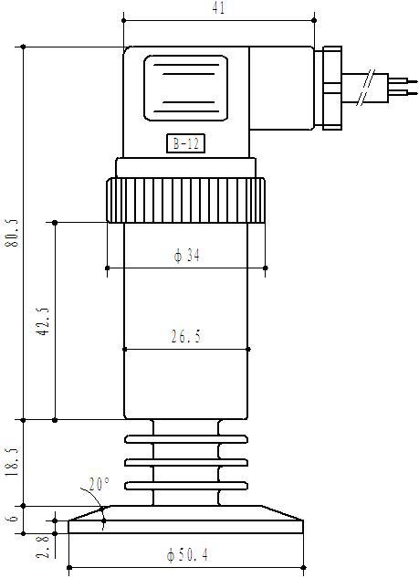
尺寸圖 單位:mm |
![]() 三片散熱片 |
![]() 無散熱片 (介質溫度-40℃~85℃) |
![]() 三片散熱片 (介質溫度-40℃~150℃) |
|
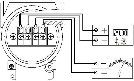
接線方式 (電流輸出) |
![]() |
紅線:電源+ 綠線:電流輸出 |
紅線:電源+ 綠線:電流輸出 |
|
接線方式 (電壓輸出) |
![]() |
紅線:電源+ 藍線:共地 黃線:電壓輸出 |
紅線:電源+ 藍線:共地 黃線:電壓輸出 |
卡箍接口
| K1:2寸卡箍 | K2:2.5寸卡箍 |
![]() |
![]() |
安裝示意(僅供參考)

安裝提示:
1.卡箍平膜為一次性充油,膜片請勿觸碰,防止變形進而損傷內部芯片。
2.赫斯曼常溫型產品,在介質150℃溫度下(消毒時間)工作不要超過十分鐘,防止高溫導致傳感器不能正常工作。
3.在現場安裝或清洗時,請擰緊赫斯曼插座或2088外殼,防止殼體進水損壞內部電路。
訂購指南
| 產品名稱 | ||||||||||
| SLK511TS | ||||||||||
| 量程范圍 | ||||||||||
| 根據客戶要求直接填寫 | ||||||||||
| 電源 | ||||||||||
| V1:24V DC 、V2:(12V~36V)DC | ||||||||||
| 輸出信號 | ||||||||||
| B1:4~20mA、B2:0~10V、B3:1~5V、B4:0~5V、 | ||||||||||
| 卡箍接口 | ||||||||||
| K1:2寸卡箍、K2:2.5寸卡箍 | ||||||||||
| 附加信息 | ||||||||||
| J1:赫斯曼、J2:2088殼體帶顯示 | ||||||||||
| P1:0.5%FS、P2:0.25%FS | ||||||||||
| 壓力類型 | ||||||||||
| G:表壓 A:絕壓 S:密封壓 | ||||||||||
| 防爆要求 | ||||||||||
| E1:本安防爆ExiaⅡCT6 (僅2088殼體有防爆可選) | ||||||||||
| SLK511TS | 1MPa | V1 | B1 | K1 | J2P1GE1 選型舉例:SLK511TS-1MPa-V1-B1-K1-J2P1GE1 | |||||
表示型號為SLK511TS、量程為0~1.0MPa、供電電源為24V、輸出信號為4~20mA、卡箍接口為2寸卡箍、電氣連接為2088殼體帶顯示、精度為0.5%、壓力類型為表壓、本安防爆要求。
▲訂購提示
⑴ 請根據介質溫度選擇散熱片數量:介質溫度為-40℃~85℃,無需散熱片;介質溫度為-40℃~150℃,散熱片數量為3。
⑵ 2088殼體均有三片散熱片。
⑶ 電氣連接請嚴格按照產品說明書上的接線方法,接線錯誤會造成放大電路的損壞。
⑷ 若對產品外形和性能參數有特殊要求,本公司可提供定制。
產品信息歸西安仕樂克儀表科技有限公司版權所有
http://www.tzh-1.com/view-71-1.html
相關文章推薦:壓力變送器選取壓點應符合的幾個規定 壓力變送器的正負遷移 壓力變送器微調的具體操作步驟 供熱電廠壓力變送器工作原理 壓力開關與傳感器的設計了解 常用壓力變送器的工作原理和特點 壓力變送器在冬季如何防凍保溫【儀表防凍通用 如何延長壓力變送器的使用壽命 壓力變送器主要從哪些方面檢定技術 智能壓力變送器的作用及特點 擴散硅壓力變送器在水位控制系統中的應用 壓力變送器使用時需要注意哪些事項 壓力變送器主要作用 壓力變送器的正負遷移 壓力變送器系列中的五大分類
上一篇:工業齊平膜壓力變送器
下一篇:一體化差壓顯示型壓力變送器









